试压泵的功能是把动力机(如电动机和内燃机等)的机械能转换成液体的压力能。
工作原理:凸轮由电动机带动旋转。当凸轮推动柱塞向上运动时,柱塞和缸体形成的密封体积减小,油液从密封体积中挤出,经单向阀排到需要的地方去。 当凸轮旋转至曲线的下降部位时,弹簧迫使柱塞向下,形成一定真空度,油箱中的油液在大气压力的作用下进入密封容积。凸轮使柱塞不断地升降,密封容积周期性地减小和增大,泵就不断吸油和排油。
功能:试压泵是专供各类压力容器、管道、锅炉、钢瓶、阀门、压力容器、消防器材作实验室和水压试验中获得高压液体的理想设备。试压泵产品及配套试压、试验工程,已应用在航空领域的试压试验,并且在国防科研重点开发项目中应用。为我国重大的科研项目地下如:高压爆破试验、深海试验、空间技术、高温高压试验、异形管试验等,并做出了重大贡献。

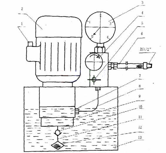
1、电机开关 2、电机 3、压力表 4、压力开关 5、高压卸荷 6、出水软管
7、泵体 8、紫铜管 9、吸水开关 10、吸水单向阀 11、吸水管 12、滤网 13、水箱