产品简介
QY型充油式潜水电泵(简称潜水泵)是水泵和三相异步电动机合成一体的电力排灌设备。具有可靠的防水密封性能,体积小、重量轻、不需泵房,不需灌引水,使用维护和管理均为方便。
工作条件
- 潜水泵潜入水下深度不超过5m;
- 水温不超过40℃;
- 水中含砂量或含不溶于水的固体颗粒的体积比不超过0.1%,粒度不大于0.2mm;
- 无腐蚀、水的PH值为6.5—8,如一般常温清水:井水、河水、湖水。
型号意义
选型范围
应用范围 1、农田园林的排灌、井灌、喷灌; 2、井下提水,水塔送水; 3、排涝防汛; 4、船舶仓底排水; 5、城建、工矿给排水。6、景观、喷泉。
| 型号规格 |
流量(m?/h) |
扬程(m) |
功率(kw) |
电压(V) |
电流(A) |
净重量(kg) |
外形尺寸(mm) |
管径(mm) |
转速(r/min) |
扬程适用范围(m) |
| QY8.4-40/2-2.2A |
2.4 |
40 |
2.2 |
380 |
5.4 |
40 |
225x560 |
38 |
3000 |
全扬程 |
| QY15-26-2.2A |
15 |
26 |
2.2 |
380 |
5.4 |
37 |
250x550 |
51 |
3000 |
全扬程 |
| QY25-17-2.2A |
25 |
17 |
2.2 |
380 |
5.4 |
35 |
225x560 |
64 |
3000 |
全扬程 |
| QY33-142.2A |
38 |
14 |
2.2 |
320 |
5.4 |
36 |
255x550 |
76 |
3000 |
全扬程 |
| QY65-7-2.2A |
65 |
7 |
2.2 |
380 |
5.4 |
35 |
225x560 |
102 |
3000 |
全扬程 |
| QY100-4.5-2.2A |
100 |
4.5 |
2.2 |
380 |
5.4 |
34 |
225x576 |
152 |
3000 |
0-7 |
| QY10-51/3-3A |
10 |
51 |
3 |
380 |
7.2 |
53 |
225x590 |
51 |
3000 |
45-60 |
| QY15-36-3A |
15 |
36 |
3 |
380 |
7.2 |
42 |
290x590 |
51 |
3000 |
全扬程 |
| QY25-26-3A |
25 |
26 |
3 |
380 |
7.2 |
40 |
250x580 |
64 |
3000 |
全扬程 |
| QY40-16-3A |
40 |
16 |
3 |
380 |
7.2 |
40 |
240x580 |
76 |
3000 |
全扬程 |
| QY160-4-3A |
160 |
4 |
3 |
380 |
7.2 |
40 |
225x635 |
152 |
3000 |
全扬程 |
| QY65-10-3A |
65 |
10 |
3 |
380 |
7.2 |
45 |
225x585 |
102 |
3000 |
全扬程 |
| QY100-6-3A |
100 |
6 |
3 |
320 |
7.2 |
42 |
225x600 |
152 |
3000 |
0-9 |
| QY10-60/2-4A |
10 |
60 |
4 |
380 |
9.3 |
55.5 |
260x620 |
51 |
3000 |
45-61 |
| QY15-48/2-4A |
15 |
48 |
4 |
380 |
9.3 |
56 |
250x620 |
51 |
3000 |
全扬程 |
| QY40-21-4A |
40 |
21 |
4 |
380 |
9.3 |
50.5 |
240x590 |
76 |
3000 |
全扬程 |
| QY20-40/2-4A |
20 |
40 |
4 |
320 |
9.3 |
56 |
250x620 |
64 |
3000 |
全扬程 |
结构图纸
结构简介
QY型潜水泵由水泵、电动机和密封三部分组成。
水泵部分:位于潜水泵上部,与电动机同轴,其叶轮形式有离心式混流式和轴流式三种。
电动机部分:电动机功率为2.2KW和3KW,为鼠笼型三相异步电动机,立式内充5号机械油。电机位于潜水泵下部。
密封部分:包括动密封和静密封。动密封为整体式双端面机械密封, 位于电机轴伸处,即装在上盖和进水节所形成的空腔内,腔内充以5号机械油。静密封位于电泵各零件止口配合处,采用"O"形橡胶密封圈。
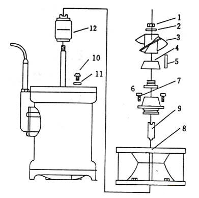
零件拆卸图


1.接头; 2.泵体(导向件); 3.耳擎; 4.导叶; 5.转子螺母垫圈; 6.垫圈; 7.叶轮; 8.垫片; 9.防砂垫; 10.封环; 11.泵座; 12.键; 13.防砂圈; 14.密封圈; 15.尼龙轴承; 16.轴套; 17.格棚; 18.进水节; 19.整体密封盒; 20.扩涨件; 21.封环(Φ143×3); 22.上轴套;? 23.轴承205; 24.转子; 25.袖承204; 26.定子; 27.出线盒螺母; 28.护套及电缆; 29.压紧塾围; 30.护套头; 31.出线; 32.封环(Φ74×3); 33.接线板; 34.封环(Φ50×3) ; 35.垫片; 36.轴承8204; 37.下盖。
维护保养
维护与保养
1、潜水泵正常动转2000小时左右,须更换端面机械密封整体式密封盒。并同时更换新的油,5号或10号机械油和25号变压器油或缝
纫机油。
2、经过修理或更换整体式密封盒后,应作气压试验,气压试验用的接头和小接头可参照制造图。试验时将气压接头的一端旋入上盖加油螺孔内,另一端接上自行车的打气筒。将小接头的一端接在下盖加油螺孔内,另一端套上橡皮管或塑料管,并通入盛有水的容器内,打气时水中应该没有气泡冒出来;如果有气泡冒出来,说明密封盒内的第二道密封漏气了。第一道密封如果漏气的话,则反映在电机轴处有漏气现象, 可在该处滴几滴机油来鉴别有无漏气。

3、掉换整件密封可按下图序号顺次进行拆卸,装配时可按拆卸过程来进行。在装配时应注意保持清洁。
4、潜水泵不用时,不宜长期泡浸在水中,以免绝缘受潮,应把潜水泵吊起,放在干燥通风的室内。
5、电缆引线必须经常检查,有否开裂现象,防止漏电,触电事故, 电缆引线不宜过细过长,接头处必须烀牢,并包扎好可靠的绝缘。
6、潜水泵的叶轮,整件密封盒,尼龙轴承座,不锈钢轴套橡皎扩张件,护套、等一些易损另部件,以及各种"O"型橡胶封环,加油螺孔上的橡胶衬垫等可向当地农机部门联系或向本厂销售科函购。
7、潜水泵使用一年后应根据表面的腐蚀情况、重新涂漆、除锈处理。
8、如果当地没有条件修理潜水泵则可同我厂联系修理事宜。
注意事项
- 潜水泵的规格性能应符合实际使用情况,使用前应仔细核对。
- 潜水泵配用的出水管内径应和电泵口径相配。
- 电源容量应在5.5千伏安以上,三相,380伏,交流50赫芝。
- 潜水泵带电或抽水工作时,不要在附近洗东西、游泳或工作, 不要让牲口在附近下水,以防电泵万一漏电,发生触电伤亡事故。
- 潜水泵不得抽吸含砂量较大的水质或泥浆水。
- 潜水泵突然不转,或水量突然显著减少等不正常现象,须?;觳?,务必先行切断电源,然后搬运拆装。
- 电泵应配用电动机保护开关(本厂有配售》?;た氐亩鞯缌饕颜ê?,用户不得自行改动。
- 任何时候都不允许用力提拉电泵的电缆。使用时全面检查电缆, 发现破损立即换新方可使用。
- 电压波动允许在342~418伏之间。如电泵使用地距电源较远,应适当加粗导线截面积。
- 引出电缆中一根带有接地标志的黄绿双色芯线必须接地线,如无固定地线,可用2米金属棒埋在河、湖岸边,水沟旁或潮湿的土中作地线。
- 使用前应检查上下盖油孔螺钉有否松动漏油现象。出线盒上中间M8螺钉为本厂试压专用,严禁用户自行松动。
- 运转前用500V兆欧表测量冷态下电机定子绕组对地的绝缘电阻, 最低不得小于5MΩ,否则不可使用,应驱除潮气后才能使用。
- 使用前应在陆地上空转1min0,检查电泵运转是否正常,转向是否正确。
- 电泵不得脱水运行。在电泵工作时要注意检查水位下降,不得让电泵露在水面运转。电泵的潜水深度范围是0.5至3米。
- 电泵不得陷入泥中,不得横放,建议电泵外用竹篮或铁丝篮来防止水草杂物堵塞水泵叶轮。
- 电泵开动后,如发现出水量很小或不出水时,说明电泵旋转方向反了,应切断电源,把三相芯线中的任意二相位置交换一下再开车。
故障排除
- 1、如果接地不良,发现漏电现象、应迅速切断总电源、停止使用,进行检修。
- 2、潜水泵启动不成的主要原因:
| 原 因 |
处 理方法 |
| 电源电压过低 |
必须调整到342~418伏。 |
| 电源断电 |
找出断电原因。 |
| 电泵叶轮卡牢 |
拆开导向件,消除垃圾。 |
| 电缆断裂 |
按规格进行调换。 |
| 电缆电压降过大 |
必须使用较粗的电绂。 |
| 电缆插头损坏 |
调换新的插头。 |
| 电机的三相电缆有一相不通 |
应该检查开关线头及出线有否损坏,发现损坏应该更新。 |
| 电机定子绕组坏 |
重新下线,进行大修。 |
- 潜水泵突然不转的原因:
| 原因 |
处进方法 |
| 空气开关跳开熔丝烧断 |
应检查线路故障或重新换熔丝。 |
| 电源断电 |
找出断电原因,消除故障,恢复供电后再启动。 |
| 定子绕组烧坏 |
重修。 |
| 叶轮卡牢 |
消除杂物,排除故障。 |
- 定子绕组烧坏的主要原因:
- 1) 潜水泵电机二相运转: A. 三相电源有一相因开关触点或电缆线接头接触不良; B. 地线与相线接错而造成; C. 电缆中有一根连接不好而脱开或接触不良。
- 2) 整件式密封盒内磨块因严重磨损,引起漏水到电机内部,致使定子绕组匝间短路或相间短路。
- 3) 潜水泵陷入泥浆中,散热不良。
- 4) 潜水泵脱水运转时间过长。 电机超负荷运行:A.输出网电压过低,或电缆线过细过长,电压降太大;B.低扬程泵(QY-4.5米泵)型使用扬程太高超过规定、高扬程泵(扬程15米以上) 扬程太低,低于规定的70%;C.含砂量太多,水质比重过高,或插泥浆水;D.泵叶轮被外来杂物卡死,电机处于三相制动。
- 5) 电缆线破损后浸水、定子绕组受潮。
- 6) 定子绕组两端部与上、下盖或机壳相擦,绝缘损伤,造成绕组对地击穿。
- 7) 装配时上、下盖上的形象胶封环不小心被止口切断、或脱落到电机内部;装配后又未经0.2MPa的气压试验,使用时严重进水到电机内部。
- 8) 潜水泵开停过于频繁。
- 9) 潜水泵受到雷击。