//m.g5p0.cn/product.php?cate=16一、安装说明
根据泵的总图和说明书所提供的安装尺寸浇注基础和确定地脚螺栓的位置,一般情况下不宜改变进口方向。
二、使用
|
故 障
|
原 因
|
排除方法
|
|
1.启动困难
|
1.料液未充满泵腔.摩擦阻力较大:
2.填料压盖压得过紧.轴与填料之间有摩擦力矩过大。
|
1.用管子钳搬动眹轴器泵主轴3?6转:
2.调整填料压盖。
|
|
2.启动后
不出料液
|
1.有大量空气吸入:
2.电动机转向不对: 3.料液粘度过大。
|
1.检査吸入口液位是否太低.吸入管是否漏气
2.调接电动机的任意两相进线:
3.稀转料液。
|
|
3.泵有较大的振动或噪音
|
1.电动机与泵轴不同心:
2.泵内吸入空气或料液混有大量空气-
|
1.重新调整同轴度:
2 .检査料液位.设法排除吸入液中的空气。
|
|
4.运行过程中.流量显著下降
|
1.衬套磨损.间隙增大:
2.转速降低:
3.万向眹轴节或铙轴损坏传动失效:
4.吸入管路漫入液体深度不够.有空气逬入泵内^
|
1.更换衬套.必要时換螺杆:
2.査电源和电机:
3.?;煨?更換轴朕轴节或绕轴:
4.滅小吸入高度.!曾加浸入深度.排除吸入料液中的空气.
|
|
5.电动机超载
|
1.扬程超过泵的饧程过多:
2.料液粘度太大:
3.电压太低.
|
1.尽量减小管路水头损失.或更换高扬程泵。
2.稀释料液:
3.检査原因.提高电压至规定值 。
|
|
6.轴封填料处大量漏液
|
1.压盖过松:
2.填料磨损:
3.进出口位置反。
|
1.调整压盖:
2.更换填料:
3.以中间法兰口为吸入口。
|

|
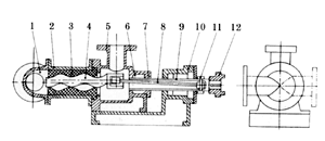
1
|
弯头接管
|
5
|
三通泵体
|
9
|
空心泵轴
|
|
2
|
直筒
|
6
|
石棉填料
|
10
|
泵座
|
|
3
|
橡胶管
|
7
|
填料压盖
|
11
|
销轴销帽
|
|
4
|
8
|
绕轴
|
12
|
联轴器
|