中成泵业防爆矿用排污泵、BQW型防爆矿用污水泵品牌厂家为您提供防爆矿用排污泵、BQW型防爆矿用污水泵型号,选型,视频等技术服务:021-66519999。
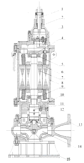
BQW型防爆矿用排污泵,是通过充分的市场调研基础上自行研制开发的一种用传统干式隔爆三相异步电动机驱动的下吸外装式矿用隔爆型潜污水电泵。
BQW型防爆矿用污水泵在下列适用条件下能连续正常运行
电机使用
| 型号 | 流量 | 扬程 | 功率 | 出水口径 | 转速 | 电压 | 泵外径 | 电流 | 电缆长度 | 重量 | |
| M?/h | m | Kw | mm | inch | r/min | V | Mm | A | M | Kg | |
| BQW10-34-2.2 | 10 | 34 | 2.2 | 40 | 1.5" | 2860 | 380/660 | 250 | 5.7/3.3 | 5 | 67 |
| BQW12-26-2.2 | 12 | 26 | 2.2 | 40 | 1.5〃 | 2860 | 380/660 | 250 | 5.7/3.3 | 5 | 67 |
| BQW9-22-2.2 | 9 | 22 | 2.2 | 50 | 2.0〃 | 2860 | 380/660 | 270 | 5.7/3.3 | 5 | 68 |
| BQW15-15-2.2 | 15 | 15 | 2.2 | 50 | 2.0" | 2860 | 380/660 | 270 | 5.7/3.3 | 5 | 65 |
| BQW25-10-2.2 | 25 | 10 | 2.2 | 65 | 2.5" | 2860 | 380/660 | 270 | 5.7/3.3 | 5 | 67 |
| BQW35-7-2.2 | 35 | 7 | 2.2 | 65 | 2.5" | 2860 | 380/660 | 270 | 5.7/3.3 | 5 | 70 |
| BQW10-44-3 | 10 | 44 | 3 | 40 | 1.5" | 2860 | 380/660 | 270 | 7.4/4.4 | 5 | 73 |
| BQW12-34-3 | 12 | 34 | 3 | 40 | 1.5" | 2860 | 380/660 | 270 | 7.4/4.4 | 5 | 72 |
| BQW15-22-3 | 15 | 22 | 3 | 50 | 2" | 2860 | 380/660 | 270 | 7.4/4.4 | 5 | 73 |
| BQW15-30-3 | 15 | 30 | 3 | 40 | 1.5" | 2860 | 380/660 | 270 | 7.4/4.4 | 5 | 72 |
| BQW25-17-3 | 25 | 17 | 3 | 65 | 2.5" | 2860 | 380/660 | 305 | 7.4/4.4 | 5 | 70 |
| BQW40-12-3 | 40 | 12 | 3 | 65 | 2.5" | 2860 | 380/660 | 305 | 7.4/4.4 | 5 | 70 |
| BQW12-40-4 | 12 | 40 | 4 | 40 | 1.5" | 2860 | 380/660 | 280 | 9.8/5.6 | 5 | 76 |
| BQW15-32-4 | 15 | 32 | 4 | 50 | 2.0" | 2860 | 380/660 | 270 | 9.8/5.6 | 5 | 77 |
| BQW15-45-4 | 15 | 45 | 4 | 40 | 1.5" | 2860 | 380/660 | 270 | 9.8/5.6 | 5 | 77 |
| BQW25-32-4 | 25 | 32 | 4 | 50 | 2.0" | 2860 | 380/660 | 305 | 9.8/5.6 | 5 | 77 |
| BQW40-16-4 | 40 | 16 | 4 | 65 | 2.5" | 2860 | 380/660 | 305 | 9.8/5.6 | 5 | 79 |
| BQW50-14-4 | 50 | 14 | 4 | 65 | 2.5" | 2860 | 380/660 | 305 | 9.8/5.6 | 5 | 79 |
| BQW12-50-5.5 | 12 | 50 | 5.5 | ?40 | 1.5" | 2860 | 380/660 | 315 | 13.1/7.6 | 5 | 86 |
| BQW15-55-5.5 | 15 | 55 | 5.5 | ?40 | 1.5" | 2860 | 380/660 | 315 | 13.1/7.6 | 5 | 85 |
| BQW20-35-5.5 | 20 | 35 | 5.5 | ?50 | 2" | 2860 | 380/660 | 315 | 13.1/7.6 | 5 | 86 |
| BQW25-40-5.5 | 25 | 40 | 5.5 | ?50 | 2" | 2860 | 380/660 | 315 | 13.1/7.6 | 5 | 85 |
| BQW30-36-5.5 | 30 | 36 | 5.5 | ?50 | 2" | 2860 | 380/660 | 315 | 13.1/7.6 | 5 | 85 |
| BQW12-60-7.5 | 12 | 60 | 7.5 | ?40 | 1.5" | 2860 | 380/660 | 325 | 16/9.4 | 5 | 125 |
| BQW20-40-7.5 | 20 | 40 | 7.5 | ?40 | 1.5" | 2860 | 380/660 | 325 | 16/9.4 | 5 | 130 |
| BQW45-22-7.5 | 45 | 22 | 7.5 | ?80 | 3.5" | 2860 | 380/660 | 525 | 16/9.4 | 5 | 138 |
| BQW70-16-7.5 | 70 | 16 | 7.5 | ?80 | 3.5" | 2860 | 380/660 | 525 | 16/9.4 | 5 | 138 |
| BQW100-12-7.5 | 100 | 12 | 7.5 | ?80 | 3.5" | 2860 | 380/660 | 525 | 16/9.4 | 5 | 138 |
![]() |
|

| 型号 | H mm | L mm | H mm | D mm | n-d mm | ? mm | Dr mm | G inch |
| BQW10-34-2.2 | 680 | 270 | 145 | ?40 | 4-?14 | ?40 | 50 |
1.5" |
| BQW12-26-2.2 | 680 | 250 | 135 | ?40 | 4-?14 | ?40 | 50 |
1.5" |
| BQW9-22-2.2 | 710 | 250 | 135 | ?50 | 4-?14 | ?50 | 65 |
2" |
| BQW15-15-2.2 | 710 | 270 | 145 | ?50 | 4-?14 | ?50 | 65 |
2" |
| BQW25-10-2.2 | 710 | 270 | 145 | ?65 | 4-?14 | ?65 | 75 | 2.5" |
| BQW35-7-2.2 | 710 | 270 | 145 | ?65 | 4-?14 | ?65 | 75 | 2.5" |
| BQW10-44-3 | 705 | 270 | 140 | ?40 | 4-?14 | ?40 | 50 | 1.5" |
| BQW12-34-3 | 705 | 270 | 140 | ?40 | 4-?14 | ?40 | 50 | 1.5" |
| BQW15-22-3 | 705 | 270 | 140 | ?50 | 4-?14 | ?50 | 65 | 2" |
| BQW15-30-3 | 705 | 270 | 140 | ?40 | 4-?14 | ?40 | 50 | 1.5" |
| BQW25-17-3 | 720 | 305 | 140 | ?65 | 4-?14 | ?65 | 75 | 2.5" |
| BQW40-12-3 | 720 | 305 | 140 | ?65 | 4-?14 | ?65 | 75 | 2.5" |
| BQW12-40-4 | 725 | 280 | 135 | ?40 | 4-?14 | ?40 | 50 |
1.5" |
| BQW15-32-4 | 740 | 270 | 140 | ?50 | 4-?14 | ?50 | 65 |
2" |
| BQW15-45-4 | 740 | 270 | 140 | ?40 | 4-?14 | ?40 | 50 | 1.5" |
| BQW25-32-4 | 740 | 305 | 140 | ?50 | 4-?14 | ?50 | 65 |
2" |
| BQW40-16-4 | 780 | 305 | 160 | ?65 | 4-?14 | ?65 | 75 |
2.5" |
| BQW50-14-4 | 780 | 305 | 160 | ?65 | 4-?14 | ?65 | 75 |
2.5" |
| BQW12-50-5.5 | 755 | 315 | 145 | ?40 | 4-?14 | ?40 | 50 | 1.5〃 |
| BQW15-55-5.5 | 765 | 315 | 150 | ?40 | 4-?14 | ?40 | 50 | 1.5〃 |
| BQW20-35-5.5 | 780 | 315 | 180 | ?50 | 4-?14 |
?50 |
65 |
2" |
| BQW25-40-5.5 | 755 | 315 | 145 | ?50 | 4-?14 |
?50 |
65 |
2" |
| BQW30-36-5.5 | 755 | 315 | 145 | ?50 | 4-?14 | ?50 | 65 |
2" |
| BQW12-60-7.5 | 920 | 325 | 145 | ?40 | 4-?14 | ?40 | 50 |
1.5" |
| BQW20-40-7.5 | 940 | 325 | 145 | ?40 | 4-?14 | 040 | 50 |
1.5" |
| BQW45-22-7.5 | 1010 | 525 | 210 | ?80 | 4-?14 | ?80 | 100 |
1.5" |
| BQW70-16-7.5 | 1010 | 525 | 210 | ?80 | 4-?14 | ?80 | 100 |
3.5" |
| BQW100-12-7.5 | 1010 | 525 | 210 | ?80 | 4-?14 | ?80 | 100 |
3.5" |